Citrus County’s Inventors (Part three in a series)
By Ken Marotte, Citrus County Historical Society
In Parts 1 and 2, we explored patents filed by a number of Citrus County residents. These amazing inventors hailed from Hernando, Inverness, Homosassa, Crystal River, Lecanto and the ghost town of Maple FL. You can read previous articles in this series on our blog at https://cccourthouse.org/blog/
This article concludes our story of the creative people from Citrus County who registered their ideas with the US Patent Office. You’ll see that these neighbors from our past discovered some new/improved tools that are actually in use in today’s world.
This series is focused on the people and devices that were born here in Citrus County. Where possible, l included a description of the submission in the inventor’s own words. If you’re interested in knowing more about each device, you can use the “Patent Number” to find the full submission on the Patent Office’s web site.
Today’s final article includes an inventor from Homosassa who designed a novel electric alarm clock that also turned a light on; an Inverness man who developed a folding railroad car step that also could be considered a forerunner of the step tailgates used in today’s pickup trucks; a Red Level man who devised an improved method of processing turpentine; the Inverness team who conceived a wire stretcher that mimics the come-along winches familiar to every rancher; and an Inverness inventor who patented a machine to harvest fruit from trees and then improved on his own invention a few years later.
Are you related or know any of the people featured in this article? We would love to hear your stories about the inventor and why they chose to develop this particular tool.
Patent: 1,006,322
Inventor: Elbert R. Weaver, Homosassa FL
Date: October 17, 1911
Description: This invention relates to an alarm clock that includes and electrically operated bell and lighted at the time that the bell is sounded.

Patent: 1,069,194
Inventor: Charles E. Short, Inverness FL
Date: August 5, 1913
Description: This invention relates to a set of railroad car steps that can be folded neatly and inconspicuously against the bottom step.

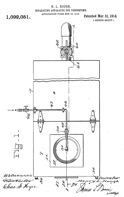
Patent: 1,092,051
Inventor: Henry L. Hough, Red Level FL
Date: March 31, 2014
Description: This invention relates to a device that will separate leaves, sand, trash and other foreign matter from crude turpentine prior to distilling.

Patent: 1,401,739
Inventor: Jesse Hyram Ryals, Inverness FL (partially assigned to George W. Scofield, Inverness FL)
Date: December 27, 1921
Description: This invention provides a novel construction for stretching wire fences and other objects and also can be used to pull up small trees, etc.

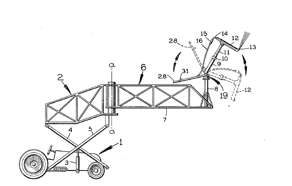
Patent: 3,404,521
Inventor: Roy B Thorn, et.al. , Inverness FL
Date: October 8, 1968
Description: This invention relates to a fruit harvesting machine that uses a number of mechanical fingers to gently dislodge fruit from the tree and drop into a bucket

Patent: 3,690,053
Inventor: Roy B Thorn, Inverness FL
Date: September 12, 1972
Description: Four years after patenting his mechanical fruit picker, Roy Thorn improved the process by using hydraulic rather than mechanical means. This interesting device could be set up to pick fruit on up to four trees at once. Mr. Thorn was impressive inventor who passed away in 2002 at the age of 98.

