by Ken Marotte
Americans have always been an inventive lot. Give us a problem that hasn’t been solved, or a tool that could be improved and we’ll figure a way to serve people a little better. The US Patent Office’s archive is testimony to the creative talents of citizens in the USA. It might surprise you to learn that Citrus County has been home to ordinary folks who registered their ideas with the Patent Office. While they may not have had the impact of a Thomas Edison or Henry Ford, these neighbors from our past discovered some new/improved tools that are actually in use in today’s world.
This series will focus on some of the people and devices that were born here in Citrus County. Where possible, I’ll include a description of the submission in the inventor’s own words. If you’re interested in knowing more about each device, you can use the “Patent Number” to find the full submission on the Patent Office’s website.
Are you related to or know any of the people featured in this article? We would love to hear your stories about the inventor and why they chose to develop this particular tool.
Today’s story includes inventors from Hernando, Inverness, Homosassa, and Crystal River.
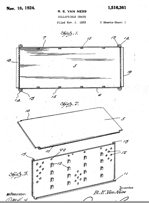
Patent Number: 1,516,361
Inventor: Ralph E Van Ness, Hernando FL
Date: November 2, 1923
Description: This invention relates to an improvement in crates primarily adapted for use in the shipments of fruits and vegetables…that may be knocked down or set up and when once set up and filled with fruits or vegetables, there is no liability in the same accidentally collapsing. One of the main objects of the invention resides in the provision of collapsible crates wherein the different walls thereof may be rigidly joined together without the necessity of providing pin or hinged connections, the different walls of the crate being formed with cooperative interlocking elements.

Patent Number: 506,794
Inventor: Hugh McMillan Reid and Abram C. Pheil, Inverness FL
Date: October 17, 1893
Description: Our invention relates to improvements in safes or cupboards, and it has for its objects to provide a device of this class with means for trapping or otherwise excluding ants, vermin, etc. from the cupboards. It may be arranged upon the floor, suspended from the ceiling, or attached to a wall either in the corner or otherwise. It also proves a means for arranging a refrigerating material when such is desired.
Patent Number: 515,229
Inventor: John C. Jenkins, Homosassa FL (NOTE: MR JENKINS WAS POSTMASTER OF HOMOSASSA DURING THE 1890’S)
Date: February 20, 1894
Description: The object of this invention is to produce a mail bag of such construction that the mouth thereof may be quickly opened and closed by a single movement, thus obviating the great loss of time which generally ensues in the use of mail bags as presently constructed. Its construction facilitates the catching of bags by hooks or projections of the kind ordinarily employed on mail cars when it is desired to pick up mail bags at stations where mail trains do not stop.


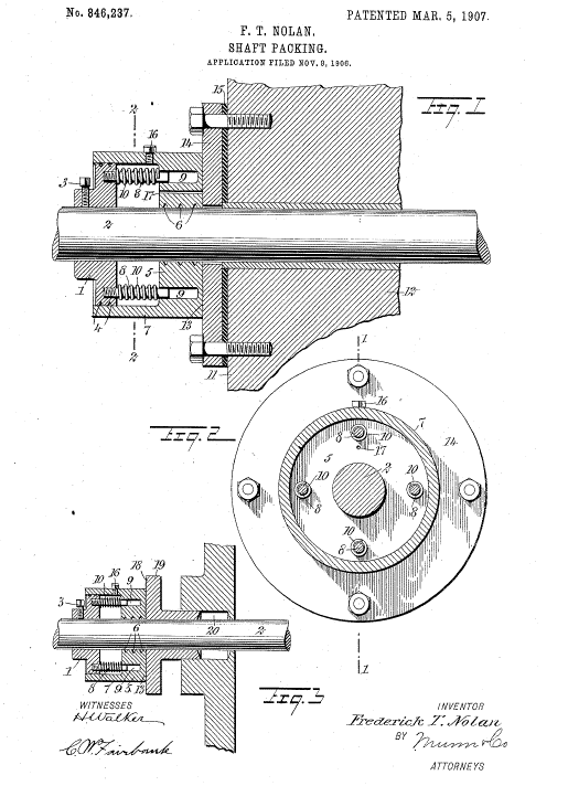
Patent Number: 846,237
Inventor: Frederick T Nolan, Crystal River FL
Date: March 5, 1907
Description: This invention relates to certain improvements in shaft packings [for wagons]. The object of this invention is to provide a packing for rotatable shafts which is air and water tight and in which there is the minimum amount of friction.
